Skip to main navigation Skip to main content
  • E-Submission

JKSPE : Journal of the Korean Society for Precision Engineering

OPEN ACCESS
ABOUT
BROWSE ARTICLES
EDITORIAL POLICIES
FOR CONTRIBUTORS
Regular

입구 유속 변화가 사이클론 분리기 내 기체-입자 유동에 미치는 영향에 대한 수치적 연구

A Numerical Study on the Effects of Inlet Velocity Variation on Gas-particle Flow in a Cyclone Separator

Journal of the Korean Society for Precision Engineering 2026;43(4):351-358.
Published online: April 1, 2026

1국립창원대학교 스마트제조융합협동과정

2국립창원대학교 기계공학부

1Department of Smart Manufacturing Engineering, Changwon National University

2Department of Mechanical Engineering, Changwon National University

#Corresponding Author / E-mail: heesungpark@changwon.ac.kr, TEL: +82-55-213-3609
• Received: August 27, 2025   • Revised: November 18, 2025   • Accepted: November 19, 2025

Copyright © The Korean Society for Precision Engineering

This is an Open-Access article distributed under the terms of the Creative Commons Attribution Non-Commercial License (http://creativecommons.org/licenses/by-nc/3.0/) which permits unrestricted non-commercial use, distribution, and reproduction in any medium, provided the original work is properly cited.

  • 381 Views
  • 5 Download
prev next
  • This study investigated the influence of inlet velocity on the internal flow characteristics and particle separation performance of a cyclone separator. Computational Fluid Dynamics (CFD) coupled with the Discrete Phase Model (DPM) was used to predict particle trajectories and separation efficiencies under different velocity conditions. The results show that increasing the inlet velocity intensifies the swirling flow and strengthens the centrifugal force within the cyclone. As a result, the axial velocity distribution becomes more pronounced, with stronger downward flow near the wall and intensified upward reverse flow at the center. In the bottom outlet region (Z = 4.5D), clear flow asymmetry associated with the Precessing Vortex Core (PVC) effect is observed, and this phenomenon becomes more pronounced as the inlet velocity increases. Particle trajectory analysis indicates that higher velocities shorten particle residence time and promote rapid migration toward the wall, forming compact helical paths and improving separation efficiency. Analysis using an inverse weighted-sum performance index indicates that an inlet velocity of 15 m/s provides the most favorable balance among the evaluated performance parameters and represents the optimal operating condition for cyclone separator performance.
사이클론 분리기는 내부의 회전하는 공기 흐름에 의해 발생하는 원심력을 이용하여 입자를 분리하는 간단한 기체-입자 분리 장치이다[1]. 다른 분리 장치와 비교할 때, 사이클론 분리기는 단순한 구조, 낮은 설치 비용 및 유지 보수 비용, 고온 고압 환경에서도 운영이 가능한 명확한 장점들 때문에 분진 제거, 미세 입자 포집 등 다양한 산업 분야에 널리 활용되고 있다. Fig. 1에 사이클론 분리기의 기본 구조와 내부 유동 패턴을 나타내었다. 사이클론 분리기의 구조는 입구, 원통부(Cylindrical Body), 선회류 출구(Vortex Finder), 원뿔부(Cone Section), 하단 배출구(Spigot)로 구성된다. 사이클론 분리기는 단순한 구조에도 불구하고, 내부 유동은 주 유동(Primary Flow)과 이차 유동(Secondary Flow)이 상호 작용하는 복잡한 유체 거동 특성을 나타낸다. 사이클론 분리기 입구로 유입된 입자가 포함된 유체는 접선방향으로 주입되며, 내부에서 강한 이중 회전 유동을 형성한다. 유입된 유체는 원통부를 따라 하강하면서 외부 회전류(Outer Vortex)를 형성하고, 이 과정에서 입자는 원심력에 의해 벽면으로 밀려나며 입자의 크기와 밀도에 따라 분리된다. 원뿔부에 도달한 유동은 점차 중심부로 수렴하며 하단에서 방향이 전환되어 내부 회전류(Inner Vortex)를 따라 상승하며 선회류 출구를 통해 배출된다. 사이클론 하단부에서 입자의 분리가 이루어지며 상대적으로 작은 미세 입자는 내부 회전류를 따라 사이클론 상단부에 위치한 선회류 출구를 통해 배출된다[2]. 내부에는 주 유동 외에도 이차 유동이 발생하며, 이는 입자 분리 성능에 영향을 미친다. 대표적으로 이차 유동에는 일부가 충분한 분리 과정을 거치지 않고 선회류 출구로 직접 유입되는 단락 유동(Short-circuit Flow), 원통부 상단에서 일부 유체가 역류하여 정체된 층을 형성하는 재순환 유동(Recirculation Flow), 원뿔부 하단에서 발생하는 비대칭 교차 유동인 편심 환류(Eccentric Circumfluence)가 있다[3]. 이러한 이차 유동은 입자의 재비산과 혼합을 유발하여 분리 효율을 저하시키므로 입구 속도, 선회류 출구 형상, 원뿔부 각도 및 하단 직경 등의 기하학적 설계 변수와 운전 조건을 최적화하여 그 영향을 최소화하는 것이 중요하다.
사이클론 분리기의 성능을 향상시키기 위한 다양한 연구가 수행되어 왔다. Yang 등은 미세 탄산칼슘 분말을 효과적으로 분리하기 위해 선회류 출구 길이 및 선회류 출구 직경에 따른 성능평가를 진행하였다. 선회류 출구의 길이가 길어짐에 따라 속도 분포가 정렬되고 분리 성능이 증가하는 경향이 나타났고, 이 때 최적 분리 성능은 S/D 값이 0.7에서 발생한다는 것을 확인하였다. 선회류 출구의 직경이 증가함에 따라 외부 회전류의 강도가 감소하면서 원심력이 약해지고 분리 성능이 저하되는 경향이 나타났으며, 이때 De/D 값이 0.4에서 우수한 분리 성능이 발생한다고 규명하였다[4]. Xiang 등은 폴리스티렌 라텍스 입자에 대해서 원뿔부 하단 직경(B/D = 0.625, 0.5, 0.375)이 분리 성능에 미치는 영향을 실험 분석하였다. 원뿔부 하단 직경이 감소함 따라 접선 속도가 증가하여 분리 성능이 증가한다고 주장하였다[5]. Elsayed 등은 고체 입자(ρp = 860 kg/m3)에 대해서 입구 너비와 높이에 따른 분리 성능 평가를 수행하였다. 입구의 너비와 높이가 증가할수록 압력 손실과 최대 접선 속도가 감소하여 분리 성능이 저하된다고 규명하였다[6].
본 연구에서는 구조가 단순하고 설치 및 유지 보수 비용이 낮아 다양한 분체 처리 공정에 활용되는 사이클론 분리기를 대상으로 입자 크기별 분리 효율 특성을 평가하였다. 기존 연구들은 주로 절단 입경(dp,50, Cut-point Diameter)과 압력 강하를 중심으로 사이클론 분리기의 성능을 평가하였으나, 실제 분체 공정에서 제품의 품질은 특정 기준에 부합하는 입자 크기 분포 확보에 의해 결정된다. 특히, 임계 입경(dmax) 영역에서의 미세분 잔류나 과립 혼입은 품질 저하의 주요 요인으로 작용한다. 이에 본 연구에서는 절단 입경뿐만 아니라 분리 경계의 선명도를 정량화하는 분리 정밀도(Sharpness of Classification, κ)를 함께 고려하여 보다 실질적인 분리 성능 평가 지표를 제시하고자 한다. 이러한 접근은 기존 단일 지표 중심의 연구와 차별화되며, 실제 분체 처리 공정에서의 최적 운전 조건 도출에 기여한다. 본 연구에서는 이러한 목적 달성을 위해, 직경 100 mm의 원통형 Stairmand형 사이클론 분리기를 대상으로 입구 유속 변화가 유동 패턴과 분리 성능에 미치는 영향을 수치적으로 분석하였다.
2.1 사이클론 분리기 모델
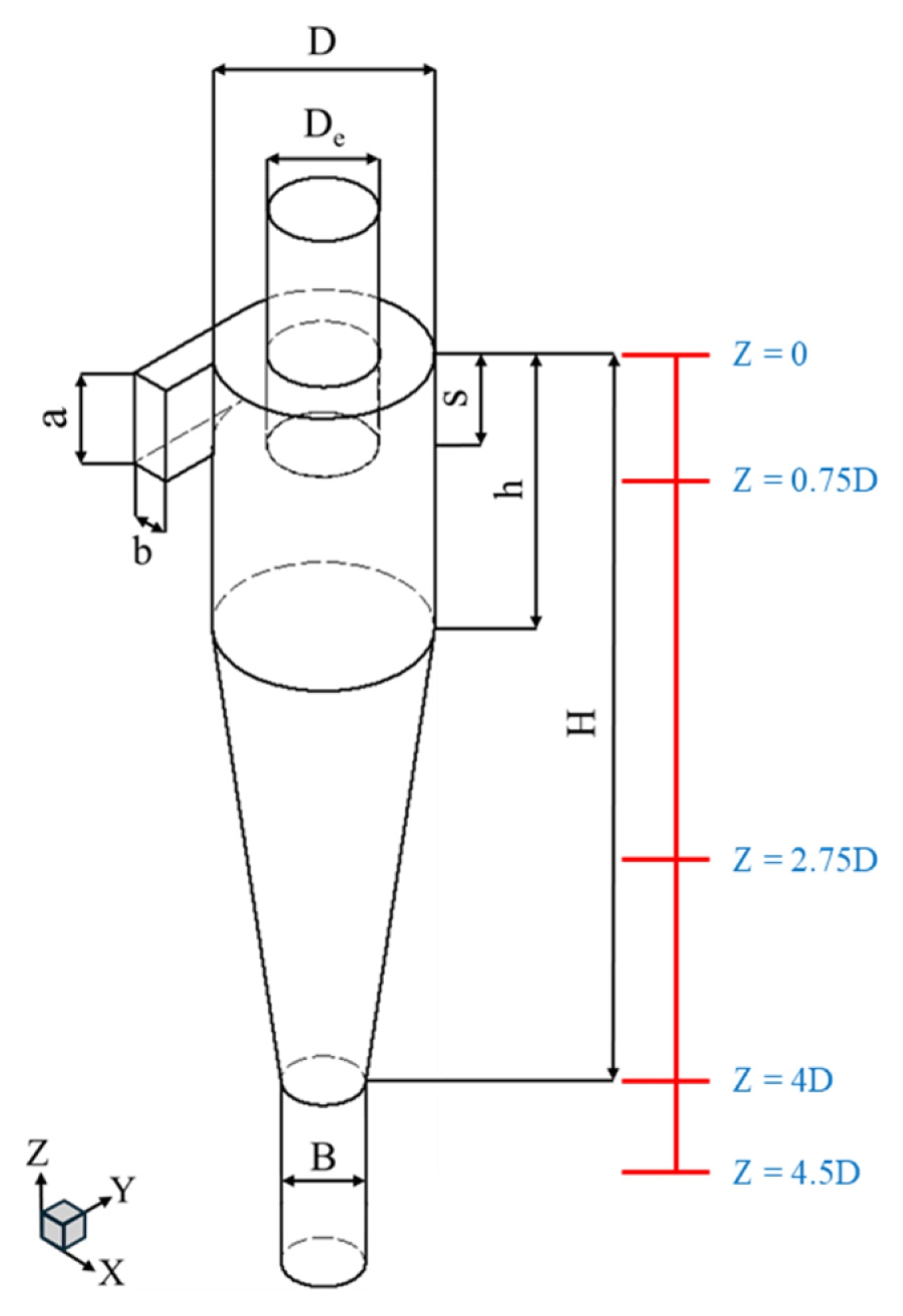
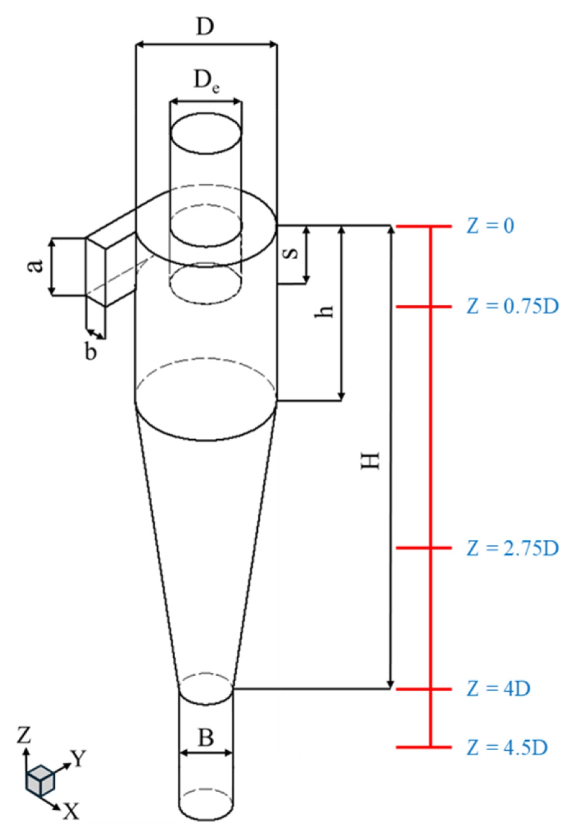
본 연구에서 적용된 사이클론 분리기는 입구, 원통부, 원뿔부, 하단 배출구, 선회류 출구로 구성되며, Fig. 2에 사이클론 분리기의 형상 개략도를 제시하였다. 해당 장치는 고효율 Stairmand 모델 설계 지침을 기반으로 설계하였으며, 원통부 높이(h)와 선회류 출구의 길이(S)는 각각 본체 직경의 1.5배와 0.5배로 설정하였다[7]. 상세한 기하학적 비율은 Table 1에 정리하였다.
본 연구에서는 Ansys Fluent V24.1 상용 수치 해석 코드를 이용하여 사이클론 분리기에 대한 3차원 수치 해석을 수행하였다. 계산 효율성과 수치적 안정성을 확보하기 위하여 해석 절차를 두 단계로 구분하였다. 1단계에서는 정상 상태 해석을 수행하여 속도장과 압력장이 수렴된 유동장을 확보하였다. 이 단계는 사이클론 내부의 강한 회전류와 급격한 압력 구배 조건에서 비정상 해석 수행 시 발생할 수 있는 수치적 발산을 방지하기 위한 것이다. 난류 해석에는 강한 회전 유동의 비등방성을 고려하기 위해 레이놀즈 응력 수송 모델(Reynolds Stress Model, RSM)을 적용하였다. 2단계에서는 1단계에서 수렴된 정상 상태 유동장을 기반으로, 다양한 입경 조건에 대해 라그랑지 이산상 모델(Discrete Phase Model, DPM)을 적용하였다. 입자 거동은 시간 의존적 라그랑지 입자 추적법(Lagrangian Particle Tracking, LPT)을 통해 계산되었으며, 각 입경 조건별로 1,000개의 입자를 주입하여 입자의 이동, 충돌 및 체류 거동을 해석하였다. 이러한 단계적 접근은 전체 계산 비용을 절감하고, 유동장과 입자 거동의 수치적 안정성을 확보하기 위한 것이다.
2.2 수치 해석 방법
사이클론 분리기 내부의 유동은 강한 와류와 높은 난류 강도를 동반하는 복잡한 특성을 나타내므로 정확한 유동 해석을 위해 적절한 난류 모델의 선택이 필수적이다. 이러한 회전 유동에 적합한 난류 모델의 선택에 대하여 여러 선행 연구가 수행되어 왔다. Standard k-ε, RNG k-ε 그리고 Realizable k-ε 모델은 등방성 난류 점성 계수에 기반하며, 사이클론 분리기 내에서 발생하는 강한 회전 유동을 등방성 난류로 가정한다. 따라서 실제와 같이 강한 이방성을 가지는 유동장에 대해서는 정확한 예측이 어렵고 해당 모델들은 최적화되어 있지 않다[8-11]. 반면, 본 연구에서 사용된 RSM 난류 모델은 각 난류 응력 성분에 대한 수송 방정식을 독립적으로 계산한다. 이 모델은 이방성이 강하게 나타나는 유동장에 적합하며, 회전 유동 구조, 축 방향 속도, 접선 속도, 절단 입경, 압력 강하 등 사이클론 내 주요 유동 특성을 정확하게 예측할 수 있다[12,13].
본 연구에서는 Eulerian-Lagrangian 접근법 기반의 이산상 모델을 적용하였다. 연속상(Fluid Phase)은 시간 평균된 Navier-Stokes 방정식을 통해 연속체로 해석되며, 분산상(Dispersed Phase)은 계산된 유동장을 바탕으로 각 입자의 궤적을 개별적으로 추적함으로써 계산된다. 분산상은 연속상과 운동량, 질량, 에너지를 교환할 수 있다. DPM은 분산상의 체적분율이 매우 낮다는 가정을 기반으로 하며, 일반적으로 입자의 체적분율(αp)이 전체 유체 부피 대비 10-12% 미만일 경우 적용 가능하다[14]. Khaleel 등은 입자 체적분율에 따라 연속상과 분산상 간 결합 수준이 달라지며 αp< 10-6 조건에서 단방향 결합(One-way Coupling)이 타당하다고 제시하였다[15]. 본 연구에서 계산된 입자 체적분율은 1.77 × 10-8로, 상기 기준보다 현저히 낮아 입자의 존재가 유동장에 미치는 영향을 무시할 수 있다. 따라서 본 해석에서는 Eulerian-Lagrangian 접근법과 단방향 결합 가정 하에서 입자의 운동을 계산하였다. 입자의 운동 방정식은 다음과 같다.
(1)
dup,idt=18μρpdp2·CDRep24(ui-up,i)+gi·(ρp-ρ)ρp
(2)
dxp,idt=up,i
여기서 ρμ는 각각 기체의 밀도와 동점성 계수, ρpdp는 각각 입자의 밀도와 지름을 나타낸다. CD는 항력 계수, ui, up,i는 각각 유체와 입자의 i방향 속도, gi는 i방향 중력 가속도, Rep는 상대 레이놀즈 수를 의미한다. 상대 레이놀즈 수는 식(3)과 같이 정의된다.
(3)
Rep=ρpdp|u-up|μ
구형 입자의 항력 계수 CD를 상대 레이놀즈 수 Rep의 함수로 나타낸 Morsi와 Alexander의 상관식을 사용하여 계산되었다[16]. 입자의 운동 방정식은 개별 입자 궤적을 따라 수치적으로 적분된다. 입자 분리 효율(Particle Separation Efficiency)은 다분산 입자를 주입한 후, 출구로 탈출하는 입자 수를 추적하여 계산되었다. 입자와 사이클론 벽 사이의 충돌은 부분 탄성 충돌로 가정되었으며, 반발 계수는 0.8로 설정하였다.
사이클론 분리기 내 평균 체류 시간은 사이클론의 기 하학적 형상과 가스 유량에 기반하여 결정된다. 체류 시간(tres)은 식(4)와 같이 정의된다.
(4)
tres=VQin
여기서 Qin은 가스 유량, V는 사이클론 내부 체적을 의미한다. 타임 스텝 크기는 체류 시간의 5배를 100등분한 값으로 설정하였다. 각 타임 스텝마다 최대 50회의 반복 계산을 수행하였다[17].
사이클론 분리기 내부에는 높은 압력 구배와 이중 와류 구조가 존재하므로, 압력 계산을 위한 효율적인 알고리즘이 요구된다. 압력-속도 결합을 위해 SIMPLEC Scheme을 적용하였으며, 압력 방정식은 PRESTO 압력 보간 기법을 설정하였다. 운동량 방정식은 QUICK을 설정하였으며, 난류 에너지 소산률은 2차 정확도 Scheme을 설정하였다. 레이놀즈 응력은 1차 정확도 Scheme을 설정하였으며, 모든 수렴 기준은 10-6으로 설정하였다.
2.3 경계 조건 및 격자 독립성 검증
사이클론 입구에는 속도 입구 경계 조건(Velocity Inlet Boundary Condition)이 적용하였으며, 입구 유속은 5, 10, 15, 20 m/s 4가지 경우로 설정하였다. 출구에는 압력 출구 경계 조건(Pressure Outlet)을 적용하였고, 그 외 모든 벽면에는 점착 조건(No-slip Boundary Condition)이 적용되었다. 공기의 밀도는 1.225 kg/m3, 동점성 계수는 1.7894 × 10-5 Pa∙s 그리고 난류 강도는 5%이다. 입자 직경 범위는 0.5-20 μm로 설정하였다. 본 범위는 사이클론 분리기의 대표적 절단 입경 구간(3.9-17.1 μm)을 포함하며, 실제 대기 오염 규제 샘플링에서 사용되는 PM10 (10 μm) 및 PM2.5 (2.5 μm) 규격 사이클론의 표준 기준과도 부합한다[18,19].
격자 생성은 Poly-hexcore 격자를 적용하여 설계하였으며, 벽면 근처 유동 해석의 정확도를 확보하기 위해 첫 번째 셀 중심이 y+ ≈ 1 범위에 위치하도록 초기 격자 높이를 설정하였다. 10개 경계층 레이어가 벽면에서부터 점진적으로 1.2배 증가하도록 설정하였다. 최대 Skewness는 0.71 미만으로 계산 안정성을 확보할 수 있는 수준으로 나타났다.
Fig. 3은 격자 수에 따른 해석 결과의 신뢰성을 검증하기 위한 격자 독립성 검증을 나타낸다. 격자 수는 20만 개에서 380만 개까지의 범위에서 5가지 격자 수에 대한 입∙출구 압력 강하를 비교하였다. 75만 개 이상일 때, 입∙출구 압력 강하의 최대 상대오차는 1.6% 미만이다. 수치 해석의 신뢰성 확보와 계산 효율성을 위해 75만 개의 격자를 사용하였다.
3.1 사이클론 분리기 내 유동장
Fig. 4는 입구 유속 변화에 따른 사이클론 분리기 내부의 유동 구조와 정압 분포를 나타낸다. 내부에서는 복잡한 회전 유동이 형성되며, 입구 유속이 낮을수록 다양한 크기의 불규칙한 회전 구조가 나타난다. 반면, 입구 유속이 증가함에 따라 유동은 중심축을 따라 정렬되며, 불규칙한 회전 구조의 빈도는 감소하는 경향을 보인다. 벽면을 따라 하강한 유체는 중심부에서 직선이 아닌 굽이치는 형태로 상승하는 흐름 특성을 나타낸다. 전체적으로는 벽면에서 중심부로 향하는 방향으로 정압이 급격히 감소하는 압력 구배가 형성되며, 이는 회전 유동에 의해 발생하는 원심력의 결과이다. 이러한 압력 분포는 입구 유속이 증가할수록 더욱 뚜렷하게 나타난다.
Fig. 5는 입구 유속 변화에 따른 사이클론 분리기 내부의 난류 운동 에너지 분포를 나타낸다. 입구 유속이 증가함에 따라 선회류 출구 인근과 내벽 부근에서 난류 강도가 현저히 증가하며, 특히 20 m/s 조건에서 내벽을 따라 난류 에너지 영역이 확장되어 유동의 안정성이 저하된다. 이러한 난류 강도의 증가는 입자에 작용하는 와류력 및 전단응력의 변동성을 증폭시켜, 입자의 재비산 및 혼합 현상을 유발할 수 있다.
Figs. 67은 입구 유속 변화에 따른 접선 방향 속도 분포 및 사이클론 분리기 상단부로부터 0.75D 아래 위치에서의 반경 방향 접선 속도 분포 곡선을 각각 나타낸다. 전체 유동장은 중심부의 강제 회전류(Forced Vortex)와 외측의 자유 회전류(Free Vortex)로 구성되며, 전형적인 Rankine형 와류 구조에 근사하는 유동 특성을 보인다. 접선 속도의 최댓값은 내∙외부 회전류의 경계면에서 형성되며, 입구 유속 증가함에 따라 절대값이 점진적으로 증가하는 경향을 보인다. 이러한 접선 속도의 증가는 선회 강도와 원심력의 강화로 이어지며, 이는 입자 분리 성능 향상에 기여하는 주요 인자 중 하나로 작용한다. 특히, Fig. 5(a)에서는 낮은 입구 유속으로 인해 벽면과 중심부 사이의 압력 구배가 완만하고, 중심부 내부 회전류가 불안정한 형태로 분포하여 내∙외부 회전류 간의 경계면이 뚜렷하지 않게 나타난다. 이는 접선 속도가 충분히 발달하지 않아 원심력이 약하게 형성된 결과로 해석된다.
Fig. 8은 입구 유속 변화에 따른 축 방향 속도 분포를 나타낸다. 유동장은 벽면 근처에서 음의 축 방향 속도, 중심부에서는 양의 축 방향 속도를 보이며, 이는 사이클론 분리기의 전형적인 이중 회전 유동 구조를 의미한다. 입구 유속이 증가함에 따라 벽면에서의 음의 축 방향 속도의 절댓값이 증가하는 경향을 보인다. 이는 원뿔부 하단 및 하단 배출구 중심부에서 상승하는 역류 현상이 강해짐을 의미한다. 또한 중심부의 내부 회전류가 선회류 출구로 진입할 때, 단면적이 축소됨에 따라 접선 속도의 크기는 증가한다. 그 결과, 벽면 마찰에 의한 에너지 손실이 증가하여 선회류 출구 내에서의 선회 감쇠율이 증가한다. 이는 중심축을 따라 축 방향 역 압력 구배를 유발하여 정체 구간 및 축 방향 역류 현상의 발생으로 이어진다.
Fig. 9는 각 위치(Z = 0.75D, 2.75D, 4D, 4.5D)에서의 반경 방향 축 방향 속도 분포를 나타낸다. 하단 배출구 영역(Z = 4.5D)에서는 선회 와류 코어(Precessing Vortex Core, PVC)의 영향으로 축 방향 속도 분포의 대칭성이 저하되며, 입구 유속이 증가함에 따라 최대 속도점이 기하학적 축으로부터 편향되는 경향이 나타난다. 특히 20 m/s 조건에서 편향의 정도가 최대이며, 이는 PVC의 강도 및 유동 불안정성이 증가한 결과로 분석된다. 원뿔부 하단(Z = 4D)에서는 유동 단면적의 축소로 인해 하강하는 외부 회전류와 상승하는 내부 회전류 간의 상호 작용이 강화되며, 이에 따라 축 방향 속도의 절댓값이 전반적으로 증가한다. 이 구간에서 15 m/s 조건은 최대 속도점이 기하학적 축을 중심으로 재정렬되나, 20 m/s 조건에서는 높은 난류 강도에 기인한 내부 선회류의 비대칭성이 지속되어 축심 편향이 유지된다. 이러한 축 방향 속도 분포의 비대칭성은 입자에 작용하는 힘을 지속적으로 변화시켜, 벽면 인근에서 포집될 입자가 상승류로 재유입되는 현상을 야기하며, 결과적으로 분리 정밀도의 저하로 이어진다. 선회류 출구 하단(Z = 0.75D)에서는 중심축 부근에 정체 영역이 형성되며, 반경 방향으로 M자형 축 방향 속도 분포가 나타난다. 입구 유속이 증가할수록 중심부의 정체 및 역류 현상이 강화되어 M자형 분포의 기울기가 증가하며, 이러한 유동 특성은 원뿔부 중간 위치(Z = 2.75D)까지 확장되는 양상을 보인다.
3.2 사이클론 분리기의 입자 거동 및 성능 평가
Fig. 10은 각 입구 유속 조건에 따른 입자 궤적의 시간 변화를 나타낸다. 입구 유속이 낮은 경우, 0.5-4 μm 범위의 작은 직경 입자들은 사이클론 분리기 내부에서 장시간 부유하며 체류 시간이 증가한다. 반면, 입구 유속이 높은 경우에는 강한 원심력에 의해 입자들이 빠르게 벽면으로 밀려나며 상대적으로 체류 시간이 단축되고 하단 배출구로 효율적으로 분리된다. 또한 입구 유속이 증가할수록 입자의 궤적 간격은 감소한다. 이는 유입되는 유동의 각운동량이 증대됨에 따라 외부 회전류가 더욱 빠르고 강력한 나선형 유동을 형성하기 때문이다.
Fig. 11은 입자의 직경에 따른 입구 유속별 입자 분리 효율을 보여준다. 입자 분리 효율은 식(5)로부터 계산된다.
(5)
η(dp)=1-NescapeNinject
모든 곡선은 전형적인 S자 형태를 보이며, 입자 직경이 증가할수록 분리 효율이 상승하는 사이클론 분리기의 일반적인 특성이 나타난다. 또한, 동일한 입자 직경에 대해 입구 유속이 증가할수록 분리 효율이 높아지는 경향을 확인할 수 있다. Fig. 11으로부터 절단 입경과 분리 정밀도를 도출할 수 있으며, 이는 분리 성능을 정량적으로 평가하는 핵심 지표이다. 분리 정밀도는 식(6)과 같이 정의된다.
(6)
κ=dp,75dp,25
여기서 dp,75dp,25는 각각 분리 효율이 75%와 25%에 해당하는 입자 직경이다. 이상적인 경우 κ = 1이며, κ 값이 작을수록 분리 정확도가 높은 것을 의미한다. 입구 유속이 증가하면 원심력이 증대되어 미세한 입자까지 분리할 수 있게 되므로, dp,50 값이 감소하며 입자 분리 효율이 향상되는 것을 확인할 수 있다. 반면, 입구 유속 20 m/s에서는 난류 강도가 현저히 증대되고 유동 불안정성이 심화되어 입자의 재비산 가능성이 증가함으로써 분리 정확성이 저하된다. 결과적으로, 가장 작은 κ값은 입구 유속이 15 m/s 조건에서 나타난다.
Table 2는 입구 유속 변화에 따른 분리 성능 지표를 정리한 결과를 나타낸다. 입구 유속 증가에 따라 절단 입경은 감소하고 압력 강하는 증가하는 상충 관계(Trade-off)가 나타나며, 이러한 특성을 종합적으로 평가하기 위해 역가중합 성능 지표(Inverse Weight Sum Performance Index, PWSM1)를 적용하였다[20]. 본 지표는 절단 입경, 압력 강하, 분리 정밀도를 통합적으로 반영하여 운전 조건에 따른 종합 성능을 정량적으로 비교하는 데 활용되며, 식(7)과 같이 정의된다.
(7)
PWSM-1=ϖdp,50ndp,50+ϖΔPnΔP+ϖκnκ
여기서 ndp,50, n∆P, nκ는 절단 입경, 압력 강하, 분리 정밀도의 정규화 값이며, 본 연구에서는 절단 입경의 상대적 중요도를 고려하여 차등 가중치(ndp,50 = 0.6, ϖ∆P = 0.2, ϖκ = 0.2)를 적용하였다. PWSM1값이 낮을수록 성능 인자 간의 균형이 우수함을 의미한다. Table 2에서 확인되듯이, 20 m/s에서는 압력 강하의 급증과 분리 정확성 저하로 인해 종합 성능 지표가 증가한다. 반면, PWSM1의 최소값은 15 m/s에서 나타난다. 이는 절단 입경 감소 효과가 확보되면서도 압력 강하 및 분리 정밀도의 저하가 최소화되는 조건으로, 세 성능 인자 간의 상충 관계가 균형을 이루는 운전 구간이다. 따라서 15 m/s는 사이클론 분리기의 종합 성능 관점에서 적합한 유속 조건으로 판단된다.
본 연구에서는 입구 유속을 독립 변수로 설정하여, 유속 변화가 사이클론 분리기 내 기체-입자 유동 특성 및 분리 성능에 미치는 영향을 수치적으로 분석하였다.
입구 유속 증가에 따라 입∙출구 간 압력 강하는 지수적으로 증가하였으며, 이는 에너지 소비 측면에서 고려가 필요함을 시사한다. 또한, 회전 유동 강도와 원심력이 증대되며, 접선 및 축 방향 속도가 모두 증가하는 경향을 보였다. 특히 원뿔부 하단과 하단 배출구 영역에서는 PVC의 영향으로 유동 불안정성과 비대칭성이 심화되며, 이는 과도한 난류 및 입자의 재비산 가능성을 유발할 수 있다.
입자 분리 성능 측면에서 입구 유속은 주요 인자로 작용하며, 입구 유속 증가에 따라 절단 입경이 감소하고 전체 분리 효율이 향상된다. 이는 미세 입자 분리에 효과적임을 나타낸다. 사이클론 분리기의 종합 성능을 평가하기 위해 역가중합 성능 지표 분석 결과, 15 m/s는 세 성능 인자 간의 상충 관계가 균형을 이루는 운전 구간으로 평가되어 종합 성능 관점에서 가장 우수한 최적 유속으로 판단된다.
향후 연구에서는 선회류 출구 길이, 원뿔부 각도, 하단 직경 등 기하학적 설계 인자를 추가 변수로 고려하여 사이클론 분리기의 성능 최적화에 대한 후속 연구를 진행할 예정이다.

ACKNOWLEDGEMENT

논문은 2025년도 교육부 및 경상남도의 재원으로 경상남도 RISE센터의 지원을 받아 수행된 지역혁신중심 대학지원체계 (RISE)의 결과입니다(No. 2025-RISE-16-002).

Fig. 1
Schematic diagram of cyclone separator flow
JKSPE-025-115f1.jpg
Fig. 2
3D geometry of a cyclone separator
JKSPE-025-115f2.jpg
Fig. 3
Grid independence study of cyclone separator
JKSPE-025-115f3.jpg
Fig. 4
Static pressure contours and streamlines for different inlet velocities: (a) 5, (b) 10, (c) 15, and (d) 20 m/s
JKSPE-025-115f4.jpg
Fig. 5
Contours of turbulence kinetic energy distribution for different inlet velocities: (a) 5, (b) 10, (c) 15, and (d) 20 m/s
JKSPE-025-115f5.jpg
Fig. 6
Contours of tangential velocity distribution for different inlet velocities: (a) 5, (b) 10, (c) 15, and (d) 20 m/s
JKSPE-025-115f6.jpg
Fig. 7
Radial distribution of tangential velocity at z = 0.75D for different inlet velocities
JKSPE-025-115f7.jpg
Fig. 8
Contours of axial velocity distribution for different inlet velocities: (a) 5, (b) 10, (c) 15, and (d) 20 m/s
JKSPE-025-115f8.jpg
Fig. 9
Radial distribution of axial velocity at various axial positions under different inlet velocities
JKSPE-025-115f9.jpg
Fig. 10
Time-resolved particle trajectories at different inlet velocities: (a) 5, (b) 10, (c) 15, and (d) 20 m/s
JKSPE-025-115f10.jpg
Fig. 11
Particle separation efficiency of particles at different inlet velocities
JKSPE-025-115f11.jpg
Table 1
Geometric design parameters of a cyclone separator (De = 100 mm)
Table 1
Parameters Values
De/D 0.5
a/D 0.5
b/D 0.2
S/D 0.5
h/D 1.5
H/D 4
B/D 0.38
Table 2
Summary of the cyclone separator performance indexes at different inlet velocities
Table 2
Vin [m/s] 5 10 15 20
Pressure drop [Pa] 57.14 267.04 654.52 1213.49
dp,25 [μm] 3.2 2.1 1.8 1.3
dp,50 [μm] 3.4 2.3 1.9 1.5
dp,75 [μm] 3.8 2.4 2 1.6
κ 1.19 1.14 1.11 1.23
PWSM-1 1.33 1.04 1.02 1.09
  • 1. Song, C., Pei, B., Jiang, M., Wang, B., Xu, D., Chen, Y., (2016), Numerical analysis of forces exerted on particles in cyclone separators, Powder Technology, 294, 437-448.
  • 2. Park, S., Kwon, J. S., (2020), Numerical performance evaluation of an ultra-small Lapple cyclone separator, Journal of the Korean Society of Visualization, 18(3), 90-95.
  • 3. Wang, C., Ma, Y., Sui, W., (2023), The secondary flows in a cyclone separator: a review, Processes, 11(10), 2935.
  • 4. Yang, X., Yang, J., Wang, S., Zhao, Y., (2022), Effects of operational and geometrical parameters on velocity distribution and micron mineral powders classification in cyclone separators, Powder Technology, 407, 117609.
  • 5. Xiang, R., Park, S. H., Lee, K. W., (2001), Effects of cone dimension on cyclone performance, Journal of Aerosol Science, 32(4), 549-561.
  • 6. Elsayed, K., Lacor, C., (2011), The effect of cyclone inlet dimensions on the flow pattern and performance, Applied Mathematical Modelling, 35(4), 1952-1968.
  • 7. Safikhani, H., Akhavan-Behabadi, M. A., Shams, M., Rahimyan, M. H., (2010), Numerical simulation of flow field in three types of standard cyclone separators, Advanced Powder Technology, 21(4), 435-442.
  • 8. Griffiths, W. D., Boysan, F., (1996), Computational fluid dynamics (CFD) and empirical modelling of the performance of a number of cyclone samplers, Journal of Aerosol Science, 27(2), 281-304.
  • 9. Chuah, T. G., Gimbun, J., Choong, T. S. Y., (2006), A CFD study of the effect of cone dimensions on sampling aerocyclones performance and hydrodynamics, Powder Technology, 162(2), 126-132.
  • 10. Wan, G., Sun, G., Xue, X., Shi, M., (2008), Solids concentration simulation of different size particles in a cyclone separator, Powder Technology, 183(1), 94-104.
  • 11. Sommerfeld, M., Ho, C. A., (2003), Numerical calculation of particle transport in turbulent wall bounded flows, Powder Technology, 131(1), 1-6.
  • 12. Bernardo, S., Mori, M., Peres, A. P., Dionisio, R. P., (2006), 3-D computational fluid dynamics for gas and gas-particle flows in a cyclone with different inlet section angles, Powder Technology, 162(3), 190-200.
  • 13. Zhao, B., Su, Y., Zhang, J., (2006), Simulation of gas flow pattern and separation efficiency in cyclone with conventional single and spiral double inlet configuration, Chemical Engineering Research and Design, 84(12), 1158-1165.
  • 14. Elsayed, K., Lacor, C., (2010), Optimization of the cyclone separator geometry for minimum pressure drop using mathematical models and CFD simulations, Chemical Engineering Science, 65(22), 6048-6058.
  • 15. Morsi, S. A. J., Alexander, AJ, (1972), An investigation of particle trajectories in two-phase flow systems, Journal of Fluid Mechanics, 55(2), 193-208.
  • 16. Khaleel, Faysal A., Al-Gburi, , Fahad, S., Ding, , Yulong, , Stafford, Jason, (2025), Modelling three-phase Taylor flows using a combined MPPIC-VoF approach, International Journal of Multiphase Flow, 184, 105117.
  • 17. Haig, C. W., Hursthouse, A., Sykes, D., Mcilwain, S., (2016), The rapid development of small scale cyclones—numerical modelling versus empirical models, Applied Mathematical Modelling, 40(11–12), 6082-6104.
  • 18. Moore, M. E., McFarland, A. R., (1996), Design methodology for multiple inlet cyclones, Environmental Science & Technology, 30(1), 271-276.
  • 19. Youn, J.-S., Han, S., Yi, J.-S., Kang, D.-I., Jang, K.-W., Jung, Y.-W., Park, Y.-K., Jeon, K.-J., (2021), Development of pm10 and PM2. 5 cyclones for small sampling ports at stationary sources: Numerical and experimental study, Environmental Research, 193, 110507.
  • 20. Le, D. K., Yoon, J. Y., (2020), Numerical investigation on the performance and flow pattern of two novel innovative designs of four-inlet cyclone separator, Chemical Engineering and Processing-Process Intensification, 150, 107867.
Geonho Kim
JKSPE-025-115i1.jpg
M.S. candidate in the Department of Smart Manufacturing Engineering, Changwon National University. His research interest is optimized design and performance analysis in application area of gas turbine.
Deokhyeong Kim
JKSPE-025-115i2.jpg
Ph.D. candidate in the Department of Smart Manufacturing Engineering, Changwon National University. His research interest is optimized design and performance analysis in application area of gas turbine.
Sungbin Lee
JKSPE-025-115i3.jpg
M.S. candidate in the Department of Smart Manufacturing Engineering, Changwon National University. His research interest is thermal fluid.
Heesung Park
JKSPE-025-115i4.jpg
Professor in the Department of Industrial and Mechanical Engineering, Changwon National University. His research interest is thermos fluidic devices for sustainable energy systems.

Download Citation

Download a citation file in RIS format that can be imported by all major citation management software, including EndNote, ProCite, RefWorks, and Reference Manager.

Format:

Include:

A Numerical Study on the Effects of Inlet Velocity Variation on Gas-particle Flow in a Cyclone Separator
J. Korean Soc. Precis. Eng.. 2026;43(4):351-358.   Published online April 1, 2026
Download Citation

Download a citation file in RIS format that can be imported by all major citation management software, including EndNote, ProCite, RefWorks, and Reference Manager.

Format:
Include:
A Numerical Study on the Effects of Inlet Velocity Variation on Gas-particle Flow in a Cyclone Separator
J. Korean Soc. Precis. Eng.. 2026;43(4):351-358.   Published online April 1, 2026
Close

Figure

  • 0
  • 1
  • 2
  • 3
  • 4
  • 5
  • 6
  • 7
  • 8
  • 9
  • 10
A Numerical Study on the Effects of Inlet Velocity Variation on Gas-particle Flow in a Cyclone Separator
Image Image Image Image Image Image Image Image Image Image Image
Fig. 1 Schematic diagram of cyclone separator flow
Fig. 2 3D geometry of a cyclone separator
Fig. 3 Grid independence study of cyclone separator
Fig. 4 Static pressure contours and streamlines for different inlet velocities: (a) 5, (b) 10, (c) 15, and (d) 20 m/s
Fig. 5 Contours of turbulence kinetic energy distribution for different inlet velocities: (a) 5, (b) 10, (c) 15, and (d) 20 m/s
Fig. 6 Contours of tangential velocity distribution for different inlet velocities: (a) 5, (b) 10, (c) 15, and (d) 20 m/s
Fig. 7 Radial distribution of tangential velocity at z = 0.75D for different inlet velocities
Fig. 8 Contours of axial velocity distribution for different inlet velocities: (a) 5, (b) 10, (c) 15, and (d) 20 m/s
Fig. 9 Radial distribution of axial velocity at various axial positions under different inlet velocities
Fig. 10 Time-resolved particle trajectories at different inlet velocities: (a) 5, (b) 10, (c) 15, and (d) 20 m/s
Fig. 11 Particle separation efficiency of particles at different inlet velocities
A Numerical Study on the Effects of Inlet Velocity Variation on Gas-particle Flow in a Cyclone Separator
Parameters Values
De/D 0.5
a/D 0.5
b/D 0.2
S/D 0.5
h/D 1.5
H/D 4
B/D 0.38
Vin [m/s] 5 10 15 20
Pressure drop [Pa] 57.14 267.04 654.52 1213.49
dp,25 [μm] 3.2 2.1 1.8 1.3
dp,50 [μm] 3.4 2.3 1.9 1.5
dp,75 [μm] 3.8 2.4 2 1.6
κ 1.19 1.14 1.11 1.23
P W S M - 1 1.33 1.04 1.02 1.09
Table 1 Geometric design parameters of a cyclone separator (De = 100 mm)
Table 2 Summary of the cyclone separator performance indexes at different inlet velocities